我司生產的木材輸送鏈主要有81X,3939兩大系列,鏈條主要為鏈式木材輸送機配套,用于輸送木材。 鏈條零件使用中碳鋼材質,實施先進的熱處理工藝,是鏈條具備高強度,耐磨損能力強。
木材輸送鏈適用領域: 造紙業,伐木業。


鏈號 | 節距 P (mm) | 滾子直徑 d1 (max) (mm) | 內節內寬 b1 (max) (mm) | 銷軸直徑 d1(max) (mm) | 銷軸長度 L (max) (mm) | 鏈板高度h2(max) (mm) | 內鏈板厚 度 T1 (mm) | 外鏈板厚 度 T2 (mm) | 抗拉強度 Q (min) (KN) | 每米凈重 q (kg/m) |
| 66.27 | 23.02 | 26.99 | 11.1 | 49 | 28.6 | 4 | 4 | 106.7 | 3.9 | |
| 66.27 | 23.02 | 26.99 | 11.1 | 61.2 | 32.3 | 7.87 | 5.6 | 152 | 5.9 | |
| 66.27 | 23.02 | 26.99 | 11.1 | 63.5 | 32.3 | 7.87 | 7.87 | 186.7 | 6.52 | |
| 66.27 | 23.02 | 38.1 | 11.1 | 62.4 | 28.6 | 4 | 4 | 127 | 4.3 | |
| 66.27 | 23.02 | 38.1 | 11.1 | 63.5 | 32.3 | 7.5 | 7.5 | 152 | 6.5 |

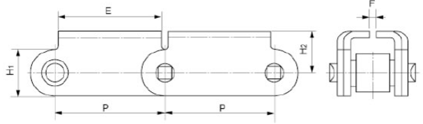
鏈 號 | P mm | E mm | F mm | H1 mm | H2 mm |
| 66.27 | 63.5 | 1.5 | 28.6 | 25.4 |

鏈號 | 節距 (mm) | 內節內寬 (min) (mm) | 滾子直徑 (max) (mm) | 銷軸直徑D (max) (mm) | 銷軸長度 L (max) (mm) | 鏈板高度 h2 (max) (mm) | 鏈板厚 度 T (mm) | J mm | K mm | N mm | M mm | 抗拉強 度 Q (min) (KN) |
| 203.2 | 23.02 | 26.99 | 11.1 | 49 | 28.6 | 4 | 38.1 | 6.35 | 115.58 | |||
| 38.1 | 101.6 | 7.14 | 7.14 | |||||||||
| 38.1 | 7.14 | |||||||||||
| 92.1 | 10.3 | |||||||||||
| 38.1 | 92.1 | 10.3 | 7.14 | |||||||||
| 101.6 | 7.14 | |||||||||||
| 101.6 | 10.3 | |||||||||||
| 38.1 | 101.6 | 10.6 | 7.14 |


